1.结构
电动推杆由驱动电机、减速齿轮、丝杆、导套、推杆、滑座、弹簧、外壳、连接头及行程开关所组成,结构紧凑、动作灵敏、安装方便。
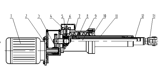
2.结构示意图

1.电动机 2.小齿轮 3.大齿轮 4.左右行程开关 5.滑座
6.拨杆 7.螺母 8.弹簧 9.螺杆 10导套组件
11导轨 12推杆 13.接头
电液推杆工作原理 :
电动推杆以电动机为动力源,经变速、带动螺杆螺旋副产生直线运动,由于推杆内管与螺母是固定的,用连在内管的接头连接设备带动工作,由电动机的正反转产生伸或缩的运动,这便是电动推杆的工作原理。在电功率配合合理情况下,电动推杆力的大小决定于弹簧。电动推杆带动设备,因各种因素在中途受阻或推杆到了两端的极限位置,推杆的内管不动,而螺杆还能转动,那螺杆势必要沿着推杆内管的反方向运动,由结构看出,螺杆带动滑座克服设定的弹簧力运动,带动拨杆,压住限位开关,关闭电源,这样就起到保护作用。由于开关比较容易损坏,我公司特地结合电动推杆的结构,研制出一套机械保护装置,它灵敏度高,在出厂调试中机械保护装置比电气保护推力大500N左右,这样两套保护装置就能有效、可靠地保护推杆本身及被连接设备的安全了。
DT 直式电动推杆选型:




客服1